跳转到主要内容

福特创新专利:可卷绕乘客显示屏设计引关注

日期: 栏目:国际 浏览:

本站讯 据外媒报道,福特汽车公司已向美国专利商标局(USPTO)申请一项乘客显示系统专利。该专利申请于2024年6月5日提交,2025年12月11日公布,专利号为0376121。

福特汽车申请乘客显示系统专利

图片来源: USPTO

随着屏幕在当今汽车中占据的空间越来越大——更不用说它们控制的功能也越来越多——福特公司已经公布了不少专利,概述了各种未来可能成为现实的显示屏类型。这些专利包括可伸缩视频显示系统以及可拆卸和可对接的显示屏等概念。现在,这项新公布的专利展示了一种未来可能应用于福特汽车的乘客显示系统。

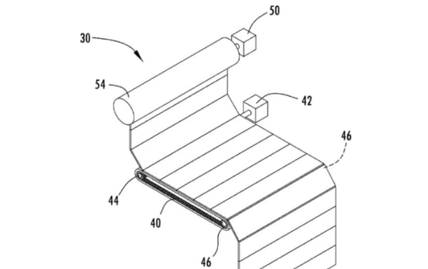
这款显示屏的独特之处在于它的灵活性,它可以像窗帘一样卷起来收纳。这样一来,显示屏既可以作为后排乘客的遮阳帘,也可以安装在后备箱内,让车主在旅途中以一种独特的方式观看电视或电影。显示屏本身采用电动设计,用户可以轻松展开或收起,如果这项功能最终得以实现,无疑会非常吸引人。

专利图中显示一种用于车辆乘客舱的显示系统,该乘客舱设有座椅区和后备箱盖开口。该显示系统包括一个柔性显示屏,其正面用于显示图像。一个运输组件配置成安装在乘客舱顶篷附近,位于座椅区上方。该运输组件包括一个与柔性显示屏连接的电动托架。该电动托架配置成将柔性显示屏移动到悬挂于运输组件前端的第一观看位置。柔性显示屏可以移动到悬挂于运输组件后端的第二观看位置,并可进一步移动到位于运输组件上且在座椅区上方可见的第三观看位置。

福特汽车申请乘客显示系统专利

福特在一份声明中表示:“提交专利申请是企业正常运营的一部分,因为这一过程可以保护新创意,并帮助我们构建强大的知识产权组合。专利申请中描述的想法不应被视为我们业务或产品计划的指示。无论专利申请中概述的内容如何,在开发和推广新产品和服务时,我们始终会将客户放在首位。”

标签: